Threaded Fasteners

Introduction

If you are designing and building a Formula SAE vehicle, threaded fasteners will likely be used to join the various components and systems together and allow the vehicle to function as a unified machine. The reliability of your vehicle is key to realize your potential at the competition. Even though threaded fasteners have been in use for hundreds of years and are in products that we use every day, their performance is dependent on a wide range of factors. This chapter covers some of the main factors that can influence reliability, and is intended as an aid in joint design, fastener selection, and installation. The first portion of this chapter covers several design and installation factors that can work together to improve the reliability of your vehicle’s bolted joints. These topics include the importance of generating and maintaining clamp load, and how clamp load, along with joint stiffness, can work together to prevent self-loosening and improve fatigue performance. The second portion of this chapter reviews how installation method and torque are related to clamp load, and also includes a comparison between common fastener types to aid in selection. The chapter concludes with a short tutorial showing how to obtain Mil Spec information on fasteners and similar hardware.

Disclaimer – Multiple factors on each component in a bolted joint affect its performance. Additionally, service requirements for every joint differ. Each joint must be evaluated and tested for its ability to perform the desired function. The information in this chapter provides general background and does not represent how a specific design or piece of hardware will perform.

Function

Most every machine, mechanism, or product made out of multiple components makes use of threaded fasteners. This is because threaded fasteners provide a readily available and affordable method to connect parts together and transmit loads, while having the unique ability to be assembled and disassembled as needed.

Typically, bolts are used to connect components and transfer loads across their interface. Threaded fasteners can provide the functions of locating, clamping, transferring forces, preventing relative movement, compressing a seal, or providing contact between two electrically conductive materials. The goal of the fastener is to provide these functions consistently, and only loosen when it is intended that the joint be disassembled.

A screw thread is a helix, which is effectively an angled surface wrapped around a cylinder. The helix converts rotational movement between the nut and bolt into linear movement along the center axis of the fastener pair. The angled contact surface of the helix provides the mechanical advantage and creates a wedging action when tightened. The wedging action creates tension in the bolt and a resulting clamp force that holds the bolted parts together. This clamping action is the primary method / mechanism a fastener utilizes to accomplish the previously mentioned functions.

The clamping force also generates friction between the mating surfaces. This friction, created during the tightening process, is depended upon to prevent movement in the threads and keeps the fastener from backing off and loosening. The helix angle of a thread is set so that the friction forces should always be greater than the restoring force working against the wedging action. If this is the case, the fastener will not self-loosen.

Terminology

Figures #1 through 4 list typical terminology used to describe threaded fastener features.

FIGURE #1 – TERMINOLOGY FOR THREADED FEATURES – SHOWN ON AN EXTERNAL THREAD (BOLT)

FIGURE #1 – TERMINOLOGY FOR THREADED FEATURES – SHOWN ON AN EXTERNAL THREAD (BOLT)

FIGURE #2 – MAJOR AND MINOR DIAMETER ON AN INTERNAL THREAD (NUT)

FIGURE #2 – MAJOR AND MINOR DIAMETER ON AN INTERNAL THREAD (NUT)

FIGURE #3 – VISULIZATION OF THE WEDGING ACTION THAT TAKES PLACE AT THE THREAD INTERFACE DUE TO THE HELIX ANGLE

FIGURE #3 – VISULIZATION OF THE WEDGING ACTION THAT TAKES PLACE AT THE THREAD INTERFACE DUE TO THE HELIX ANGLE

FIGURE #4 – TYPICAL BOLTED JOINT SECTION SHOWING GRIP LENGTH DEFINITIONS SOURCE - NASA STD-5020

FIGURE #4 – TYPICAL BOLTED JOINT SECTION SHOWING GRIP LENGTH DEFINITIONS. SOURCE - NASA STD-5020

The Loosening Mechanism

We know from experience that in certain cases, usually under conditions of vibration, threaded fasteners sometimes do self-loosen. This phenomenon was explained by Gerhard Junker in his 1969 SAE paper (#690055). Junkers built a machine (now called a Junkers Test Machine) that induced an oscillatory transverse sliding movement between a bolt and it’s mating threads. This sliding movement significantly lowers the coefficient of friction at the interface and allows self-loosening to occur. This effect is visible in real time and only takes several thousand cycles to loosen a fastener. The effect can be visualized in internet videos by searching for “Junkers test machine video”. Plain nuts, nylon insert nuts, and all metal lock nuts have been tested numerous times in Junkers tests. They all self-loosen and lose their clamp load if this transverse sliding movement occurs in the joint. The advantage of a prevailing torque nut, in a Junkers test, is that it will stop self-loosening once the clamp load is released. The joint will stay intact, although the clamp load will be lost. A free running nut will continue to loosen from the vibration until it separates from the bolt.

For joints to stay tight, it is important that no movement occurs from transverse loading. To assure this, the clamp load must be high enough that the transverse loading never exceeds the friction force developed between the parts in the joint. Figure #5 shows the type of loading and displacement induced on a fastener joint during a Junkers test.

FIGURE #5 – GRAPHICAL REPRESENTATION OF THE TYPE OF LOADING AND DISPLACEMENT INDUCED DURING A JUNKERS TEST   SOURCE - VDI 2230

FIGURE #5 – GRAPHICAL REPRESENTATION OF THE TYPE OF LOADING AND DISPLACEMENT INDUCED DURING A JUNKERS TEST. SOURCE - VDI 2230

Maintaining Clamp Load

Once a fastener is tightened to the desired clamp load, we want the clamp load to be maintained. However, once tightened there are few, if any conditions, that will increase the clamp load, but there are many that can lower it. The fastener acts as a spring in tension. There is a linear relationship between the clamp load the bolt provides and the length that the bolt shank stretches from the tensile load developed during tightening. Any subsequent loss in bolt stretch will result in a corresponding reduction in clamp load.

Embedment, thermal cycling, and abrasion of the mating surface are common factors that can reduce clamp load. For a joint that is initially tightened to proof load, it is typical that the clamp load will drop 5% to 50% within several hours or days. It may be obvious that plastic or elastomer materials are subject to creep, but also keep in mind that plating, coatings, and paint put on for corrosion resistance are often less creep resistant than the base metal. If present, these coatings can slowly flow out of the joint after the initial clamp load is established. Another source of clamp load reduction is embedment. The actual contact interfaces of the part, at a microscopic scale, are rough and have highpoints where contact stress are high and micro yielding can occur. The smoothing of these surfaces is called embedment.

Additionally, non-uniform thermal expansion and contraction can occur due to dissimilar materials or temperature gradients. Let’s take an example where we have a steel fastener clamping two pieces of aluminum. If the joint temperature increases, the aluminum will expand more than the steel and the contact stresses will increase. Since the clamp load has already induced high stress in the aluminum pieces, the added thermal stress could cause yielding. When the temperature goes back to the initial condition, the aluminum will contract to its initial dimension less any yielded amount. Whatever yielding occurs will reduce the bolt stretch and the clamp load.

So what can we do to reduce clamp load loss? If any loss in joint grip length (from creep / yielding / embedment) is small compared to the total amount of elastic bolt stretch, then the clamp load loss will also be small. So in addition to minimizing any yielding or material displacement in the joint after tightening, we also want to induce a high amount of elastic bolt stretch.

The joint grip length can be maintained by keeping materials subject to creep out of the joint, using materials with similar thermal expansion coefficients, providing good alignment, smooth surface finishes, preventing movement, and keeping dirt out of the mating surfaces.

Bolt stretch is actually easier to control and quantify than these formerly mentioned factors. Bolt stretch is proportional to the length of bolt being stretched and the tensile load in the bolt. Bolt stretch can be increased by utilizing a higher grade bolt and tightening it to its higher clamp load capacity. Or, it can also be increased by simply increasing the length of the bolt shank that is being stretched. Stretch can be improved by designing the joint with a long grip length, and by using washers or spacers. A grip length to diameter ratio of 4 or more is considered good for achieving stretch, but there many joints that achieve much less. Figures #6, 7, 8, and 9 shows several joint cross sections with a large range of grip lengths.

FIGURE #6 - EXAMPLE WHERE JOINT GRIP LENGTH IS 4 TIMES THE BOLT DIAMETER

FIGURE #6 - EXAMPLE WHERE JOINT GRIP LENGTH IS 4 TIMES THE BOLT DIAMETER

FIGURE #7 - EXAMPLE WHERE JOINT GRIP LENGTH IS ONLY ABOUT 1 TIMES THE BOLT DIAMETER. NOTE THAT THE GRIP LENGTH TO DIAMETER RATIO WOULD BE MUCH LESS WITHOUT THE WASHERS

FIGURE #7 - EXAMPLE WHERE JOINT GRIP LENGTH IS ONLY ABOUT 1 TIMES THE BOLT DIAMETER. 
NOTE THAT THE GRIP LENGTH TO DIAMETER RATIO WOULD BE MUCH LESS WITHOUT THE WASHERS

FIGURE #8 – TAPPED HOLE EXAMPLE WHERE JOINT GRIP LENGTH IS LESS THAN ONE BOLT DIAMETER

FIGURE #8 – TAPPED HOLE EXAMPLE WHERE JOINT GRIP LENGTH IS LESS THAN ONE BOLT DIAMETER

FIGURE #9 - JAM NUT EXAMPLE WHERE JOINT GRIP LENGTH IS LESS THAN ONE BOLT DIAMETER

FIGURE #9 - JAM NUT EXAMPLE WHERE JOINT GRIP LENGTH IS LESS THAN ONE BOLT DIAMETER

Fatigue Performance

In a typical joint, fatigue performance can be enhanced by the preload in a bolted joint. The effect of bolt preload and joint stiffness on tensile loading of a bolted joint is summarized here but additional detail is available in References 1, 6, & 19.

Fatigue is usually caused by cyclic tensile loads resulting in crack growth and propagation. Fluctuating tensile loads in a bolt can be a fatigue concern. However, preload in the bolt together with the relative bolt to joint stiffness has the ability to significantly reduce the alternating stress amplitude the bolt sees when a fluctuating external tensile load is applied across the joint. To visualize this effect we are going to utilize a load displacement diagram. When a bolt is tightened, it stretches like an extension spring. Similarly, when the bolt clamps the joint together, the joint is compressed and performs as a compression spring. This analogy is shown in Figure #10. A bolt’s load deformation diagram is a plot of the bolt elastic stretch relative to the bolt tensile force. Similarly, the same can be plotted for joint’s compressive load and its deflection (Figure #11).

FIGURE #10 – THE FASTENER AND THE JOINT ACT AS SPRINGS WHEN SUBJECT TO THE CLAMP LOAD GENERATED WHEN THE BOLT IS TIGHTENED.  SOURCE - NASA FASTENER MANUAL

FIGURE #10 – THE FASTENER AND THE JOINT ACT AS SPRINGS WHEN SUBJECT TO THE CLAMP LOAD GENERATED WHEN THE BOLT IS TIGHTENED. 
SOURCE - NASA FASTENER MANUAL

FIGURE #11 – LOAD DEFORMATION EXAMPLE DIAGRAM FOR THE BOLT AND THE CLAMPED JOINT.  SOURCE - UNBRAKO ENG. GUIDE

FIGURE #11 – LOAD DEFORMATION EXAMPLE DIAGRAM FOR THE BOLT AND THE CLAMPED JOINT. SOURCE - UNBRAKO ENG. GUIDE

Since the bolt tensile load equals the joint compressive load, these two diagrams can be joined in the middle to show both the bolt and the joint on the same diagram. The slope of each triangle’s diagonal represents the stiffness of either the bolt or the joint.

As long as the bolt and the joint maintain contact, any extension of the bolt results in the same amount of reduction in the compressed height of the joint. The force from the added stretch of the bolt, plus the reduced compression of the joint, is equal to the applied external load.

If the joint stiffness and bolt stiffness are equal, then each will share one half of the applied load. If the joint is stiffer than the bolt, then the reduction of joint compression force will counteract the majority of the applied load and the bolt will see only a small portion of the external load. This effect is illustrated in Figure #12 and will hold true as long as the initial bolt clamp load is high enough such that joint contact is maintained. So for fatigue performance, a stiff joint and a relatively stretchy bolt are an advantage. These same characteristics align to the previous discussion topic where a stretchy bolt was an advantage to maintain clamp load.

FIGURE #12 - SHOWS HOW JOINT STIFFNESS AFFECTS WHAT PORTION OF AN EXTERNAL LOAD THE BOLT WILL SEE. SOURCE - UNBRAKO ENG. GUIDE

FIGURE #12 - SHOWS HOW JOINT STIFFNESS AFFECTS WHAT PORTION OF AN EXTERNAL LOAD THE BOLT WILL SEE. SOURCE - UNBRAKO ENG. GUIDE

Figure #12 Diagram A has a joint to bolt stiffness of 4:1. The bolt only sees a small portion of the external load. Most of the external load is reacted by reduced compressive load in the joint instead of added tensile load on the fastener.

Figure #12 Diagram B has a joint stiffness equal to the bolt stiffness. Half of the external load becomes added tension in the bolt. The other half is reacted by reduced compression of the joint.

The prior example applies to a joint where the bolt is primarily loaded in tension. Bolt clamp load can also provide a fatigue benefit in joints where the bolt is primarily loaded in shear.

Joints where the bolt shank is primarily loaded perpendicular to the axis of the fastener are called shear joints. A shear joint can be classified into two types depending on how that load is transmitted. One type of load transmission is though contact of the bearing surfaces and is shown in Figure #13. The other type is through friction and is shown in Figure #14.

Friction type joints use the friction generated between the clamped components to transmit the load. The amount of force that can be transmitted via friction force is proportional to the clamp load of the fastener. Friction type joints have no free play, and this can be beneficial to limit movement and wear. Additionally, for joints that utilize multiple fasteners, the load carried by an individual fastener is not dependent on the fastener to hole fit.

A bearing type joint depends on contact between the fastener and the bolted components to transmit the load. The bolt acts primarily as a shear pin. However, as previously discussed, we need the clamp load to prevent loosening of the fastener and wear in the joint. Plus, and as we shall see, the clamp load is also a significant factor for the fatigue strength of the joint.

FIGURE #13 – BEARING TYPE SHEAR JOINT.  SOURCE - FORD FASTENER HANDBOOK

FIGURE #13 – BEARING TYPE SHEAR JOINT. SOURCE - FORD FASTENER HANDBOOK

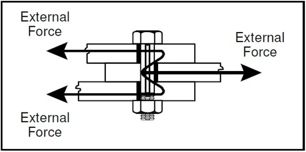
FIGURE #14 – FRICTION TYPE SHEAR JOINT.  SOURCE - FORD FASTENER HANDBOOK

FIGURE #14 – FRICTION TYPE SHEAR JOINT. SOURCE - FORD FASTENER HANDBOOK

British researchers B. A. Fisher and W. J. Winkworth published their findings in “Effect of Tight Clamping on the Fatigue Strength of Joints” in 1955.

Fisher and Winkworth compared a loose bolted (pinned joint) to a tightly bolted joint in shear fatigue test samples and showed that the clamping effect from the bolt greatly improved the fatigue strength of the joint and altered the fracture location of the sample. A summary of their results is shown in Figure #15.

This finding supports the conclusion that shear joints that are clamped by a bolt and utilize friction to transmit loading can have significantly improved fatigue performance compared to pinned joints.

Some potential reasons for the improvement: the load is spread out over a larger area than the bolt’s shear bearing area, the clamp load induces compressive stresses, and the clamp load supports & constrains the area around the hole.

FIGURE #15 – RESULTS FROM FISHER AND WINKWORTH COMPARING FATIGUE PERFORMANCE OF A PINNED TO A CLAMPED JOINT UNDER SHEAR LOAD

FIGURE #15 – RESULTS FROM FISHER AND WINKWORTH COMPARING FATIGUE PERFORMANCE OF A PINNED TO A CLAMPED JOINT UNDER SHEAR LOAD

Clamp Load Summary

Let’s summarize the reliability improvements that are obtained through clamp load and the joint design factors that achieve it.

Setting the clamp load such that it and the friction created is above any service loads, having a stiff joint, and a relatively stretchy bolt are all important interrelated factors that work together to:

  1. Prevent movement & self-loosening

  2. Maintain the initial clamp load

  3. Improve fatigue performance

Matching Joint Strength

The clamp load and stretch potential of a bolt can only be achieved if the corresponding joint can readily support that clamp load. High strength heat treated steel fasteners can generate a very significant clamp loads for their size (Figure #16). The parts that these fasteners are joining are often made of materials that are lower in strength than the fastener themselves. A joint’s strength and the bolt’s mating threads need to match (actually exceed) the strength of the bolt in order to take advantage of the bolt’s clamp load capability. To match a part with lower material properties than the bolt, the thread and bearing contact areas must be increased.

Washers may be used to increase the bearing area under bolt heads and nuts, illustrated in Figure #17. Adequate washer thickness is critical if the washer is subjected to bending loads.

FIGURE #16 – ILLUSTRATES THE COMPRESSIVE LOAD THE FASTENER EXERTS ON THE JOINT.  SOURCE – FORD FASTENER HANDBOOK

FIGURE #16 – ILLUSTRATES THE COMPRESSIVE LOAD THE FASTENER EXERTS ON THE JOINT. SOURCE – FORD FASTENER HANDBOOK

FIGURE #17 – EXAMPLE OF HOW PART ALIGNMENT CAN REDUCE THE LOCAL BEARING AREA AND HOW WASHERS CAN BE USED TO INCREASE THE BEARING AREA OF THE JOINT.  SOURCE - FORD FASTENER HANDBOOK

FIGURE #17 – EXAMPLE OF HOW PART ALIGNMENT CAN REDUCE THE LOCAL BEARING AREA AND HOW WASHERS CAN BE USED TO INCREASE THE BEARING AREA OF THE JOINT. SOURCE - FORD FASTENER HANDBOOK

When a bolt and its mating thread are tightened beyond their strength, the weaker of two possible failure modes will occur. Either the bolt will break through its minor diameter or the threads will strip. It is almost always desired that the male threaded bolt shank breaks before the threads strip. A broken bolt shank is easier to detect than threads that have started to strip. Bolts are usually cheaper and easier to replace than a custom part with deformed or stripped internal threads.

If a bolt is matched up with a full height standard nut of the same grade, the nut will always be stronger.

If the bolt is mating with a tapped hole or a nut of lesser grade, then the length of thread engagement must be increased for the strength of the thread interface to match the strength of the bolt shank. Figure #18 shows the required length of thread engagement for different strength male and female threads. Half height (or thin style) nuts are not as strong as a bolt, cannot fully utilize the bolt’s strength, and are easy to strip. For these reasons the author does not recommend their use. Additionally, softer materials are easily worn or damaged from assembly cycles. If through bolting is not possible and threads are needed in a soft material, then one of the commercially available steel inserts can be considered to prevent thread wear or damage.

FIGURE #18 – THREAD ENGAGEMENT LENGTH NEEDED TO MATCH MATING THREAD STRENGTH TO BOLT SHANK STRENGTH WHEN DIFFERENT STRENGTH MATERIALS ARE EMPLOYED FOR THE MALE AND FEMALE THREADS.  SOURCE – FORD FASTENER HANDBOOK

FIGURE #18 – THREAD ENGAGEMENT LENGTH NEEDED TO MATCH MATING THREAD STRENGTH TO BOLT SHANK STRENGTH WHEN DIFFERENT STRENGTH MATERIALS ARE EMPLOYED FOR THE MALE AND FEMALE THREADS. SOURCE – FORD FASTENER HANDBOOK

Torque Tension Relationship

So how does one accurately develop a prescribed clamp load when assembling a joint? Figure #19 shows what happens when a threaded fastener is progressively tightened.

FIGURE #19 – TYPICAL TORQUE ANGLE PROGRESSION FOR A THREADED FASTENER JOINT.  SOURCE – PCB LOAD & TORQUE INC.

FIGURE #19 – TYPICAL TORQUE ANGLE PROGRESSION FOR A THREADED FASTENER JOINT. SOURCE – PCB LOAD & TORQUE INC.

When a torque is applied to a bolt or nut, the bolt tension will increase until the friction together with the bolt tension balances the applied torque. The torque-tension relationship is a function of the coefficient of friction at the mating surfaces, the contact diameters, and the thread pitch. The applied torque and resulting clamp load have a linear relationship and can be represented empirically by the equation shown in Figure #20.

FIGURE #20 – FORMULA RELATING CLAMP FORCE AND TORQUE FOR A THREADED FASTENER.  SOURCE - S.  FERNANDO / AJAX TECH CENTER

FIGURE #20 – FORMULA RELATING CLAMP FORCE AND TORQUE FOR A THREADED FASTENER. SOURCE - S. FERNANDO / AJAX TECH CENTER

For a typical bolt, only 10% of the applied torque creates tension in the bolt while 40% of the torque goes to overcome friction at the threads and 50% goes to overcome friction under the bolt head or nut bearing surface (whichever is being turned).

FIGURE #21 – TYPICAL DISTRIBUTION OF TORQUE FOR A THREADED FASTENER.  ONLY THE PITCH TORQUE GENERATES CLAMP LOAD.  THE REMAINDER GOES TO OVERCOME HEAD AND THREAD FRICTION.  SOURCE - PCB LOAD & TORQUE INC

FIGURE #21 – TYPICAL DISTRIBUTION OF TORQUE FOR A THREADED FASTENER. ONLY THE PITCH TORQUE GENERATES CLAMP LOAD. THE REMAINDER GOES TO OVERCOME HEAD AND THREAD FRICTION. SOURCE - PCB LOAD & TORQUE INC

For a given torque input, it is apparent that a couple percent change in friction will create a significant change in the torque remaining to generate tension in the fastener.

There are a variety of factors that can affect the torque tension relationship, and it is often difficult to analytically predict the torque tension relationship with high accuracy: Materials, surface finish, surface hardness, plating or coatings, presence of dirt, type and quantity of lubricants, installation rate, prevailing torque features, and the contact diameter of the mating features can all affect the amount of torque required to reach the desired clamp load.

The design engineer should be aware that both geometry and materials will affect the amount of friction present in the joint. Different style bolts have different head sizes. A bolt with a larger head can result in the under head friction acting at a larger contact radius. This will typically result in a higher portion of the applied torque going to overcome the friction, and a higher input torque would be required to obtain the same clamp load. The materials at the contact areas also have a significant effect on the coefficient of friction. Fasteners are usually coated with a corrosion preventative finish, and in some cases also a lubricant. There are significant friction differences between common fastener finishes. Zinc, cadmium, black oxide, and stainless steel all have different coefficients of friction.

The parts we are joining are also made of different materials. When the bolt bears directly on the part or mates to a tapped hole, a steel, aluminum, cast iron, painted, or oily part surfaces will exhibit different coefficients of friction. So the combination of materials in contact with one another and any lubricants have a significant effect on the amount of friction.

Because of all these factors, the torque tension relationship is highly variable. Torque charts exist but you must understand they are based on certain assumptions, and in reality they are only a reference point. The automotive industry uses a large variety of fasteners, and each joint needs an installation torque specification to go with it. The industry practice is to perform torque angle testing on every new joint. Statistics on the results are used to set an installation torque that will provide the needed clamp load and also ensure the yield strength of the fastener and the joint will not be exceeded.

Testing is always a good option to verify your assembly process and hardware. Torquing several representative (for materials and contact areas) test coupons to failure, will give you an idea of the yield torque and which part features are first affected by an overload.

Additionally, measuring stretch across the bolt with a micrometer can relate the torque to the developed clamp load.

Also note, by reducing your variety in fastener diameter, head style, finish, and mating materials, the variation in the torque tension relationship becomes more manageable.

For example, if you limit your design to use cadmium plated hex head bolts (AN or similar), cad plated steel washers and cad plated steel nuts (all mating surfaces cad plated steel), then torque charts for cad plated steel hardware will be more representative.

Torque control is the most common and quick low cost method to tighten a threaded fastener, but it’s not the only or the most accurate method.

Figure #22 shows various tightening methods. Details on these methods are available in MIL-HDBK-60.

FIGURE #22 - ACCURACY AND COST OF VARIOUS TIGHTENING METHODS. SOURCE - S. FERNANDO / AJAX TECH CENTER

FIGURE #22 - ACCURACY AND COST OF VARIOUS TIGHTENING METHODS. SOURCE - S. FERNANDO / AJAX TECH CENTER

How to Utilize Torque Charts

For any torque chart, always review the assumptions it is based on and if those assumptions align with your hardware and joint parameters. Typical factors are target bolt stress level, mating material finishes / coefficient of friction / lubricant, and head style. For commercial fasteners, the major manufactures usually publish a technical guide for their products that includes recommendations for tightening torque. Unbrako and Bollhoff have very good manuals.

Specifically for inch series Mil Spec and other cadmium plated hardware, the following NASA publication is a good starting point for installation torques.

MSFC-STD-486-B Nov1992 NASA (Marshal Space Flight Center) Standard, Torque Limits for Threaded Fasteners Table 1 is reproduced in Figure #23.

These torque specifications are based on having a flat washer under both the head and the nut. Additionally, the torque specified is for a full height free running nut. If the bolt and nut are not equivalent strength then installation spec for the lower strength component shall govern the tightening torque. If a prevailing torque nut is being used, run the nut down to near contact with the washer or bearing surface and measure the friction drag torque required to turn the nut. The friction drag torque should be added to the installation torque specified for the fastener listed in MSFC-STD-486-B Table 1 per note #5.

FIGURE #23 - TABLE OF RECOMMENDED TIGHTENING TORQUE FOR CADMIUM PLATED STEEL FASTENERS. THIS TABLE IS COMPILED FROM TABLE 1 (5,6) NASA MSFC-STD-486B DATED NOV. 1992

FIGURE #23 - TABLE OF RECOMMENDED TIGHTENING TORQUE FOR CADMIUM PLATED STEEL FASTENERS. THIS TABLE IS COMPILED FROM TABLE 1 (5,6) NASA MSFC-STD-486B DATED NOV. 1992

Bolts and Nuts options that meet the competition requirements

There is an endless variety of threaded fastener available, but let’s look at the most common ones that meet the competition rules and what their differences are.

Section T.8 of the 2025 FSAE Rules addresses fasteners and defines the requirements for “Critical Fasteners”. Individual sections of the rules identify which systems of the vehicle require Critical Fasteners as defined in section T.8, and in some sections provide further specifications for the fasteners such as minimum size and quantity.

T.8.2.1 states the following for a critical fastener’s material grade:

T.8.2.1 Any Critical Fastener must meet, at minimum, one of these:

a. SAE Grade 5

b. Metric Grade 8.8

c. AN / MS Specifications

d. Equivalent to or better than above, as approved by a Rules Question or at Technical Inspection

T.8.2.2 states that all critical fasteners must have a hex head or be a standard socket head cap screw with a hexagonal recessed drive. This limits the head styles that can be utilized and an explanation for this restriction is given later in this chapter.

T.8.2.2 All threaded Critical Fasteners must be one of the two:

  • Hex head

  • Hexagonal recessed drive (Socket Head Cap Screws or Allen screws / bolts)

SAE bolt grades are defined in SAEJ429 and the corresponding nuts grades are defined in SAE J995. Grades 5 and 8 are common grades and meet T.8.2.1. The specification provides minimum strength requirement based on a 120ksi UTS material for grade 5 and a 150ksi UTS for grade 8. These specifications are typical for commercial fractional inch sized fasteners with UNF and UNC threads. Bolts and nuts supplied to SAE grade 5 and 8 are heat treated to their respective strength level and are usually coated with electroplated zinc to protect the steel from corroding. Often an additional chromate chemical conversion coating is applied on top of the zinc to prevent the zinc from turning white due to oxidation.

Grade 5 and 8 bolts and nuts are identified by the markings shown in Figure #24.

FIGURE #24 – SAE BOLT AND NUT GRADE MARKING

FIGURE #24 – SAE BOLT AND NUT GRADE MARKING

In addition to hex head cap screws, fractional inch sized socket head cap screws (SHCS) are available. SHCSs have a hexagonal internal drive and don’t require as much room around them as a hex head bolt for wrench access. Fractional inch sized SHCS are almost always made of 180ksi UTS material which is higher strength than grade 8. For a nut to match their strength it needs to be 180ksi material (Grade 9) or have increased thread engagement length. Steel heat treated to this strength level (above 160ksi) is susceptible to hydrogen embrittlement. Since electroplating is a hydrogen rich environment, SHCS are usually provided with a black oxide chemical conversion coating and are not electroplated. For a description of hydrogen embrittlement, see the appropriate paragraph in NASA publication 1228.

Fractional inch bolts are available in either a UNC (Course) of UNF (Fine) thread pitch. Fine thread has a larger minor diameter than course thread and a lower helix angle. The larger minor diameter gives a fine thread bolt higher strength, and the lower helix angle makes it more resistant to self-loosening. Fine thread is more likely to be available with a tighter tolerance thread class which improves the overall thread strip strength.

Course threads with its deeper thread depth and higher helix angle provide less chance of cross threading, faster assembly, and greater strip resistance of the female thread (compared to the male threaded bolt). Since course thread is larger, the thread fit tolerances can be larger and is tolerant of higher plating thickness. Course thread is often used where assembly time is a factor and is often stated as better for threading into soft materials where damage to the threads and strip resistance are factors. Figure #25 provides a visible comparison between course and fine thread.

FIGURE #25 – COMPARISON OF COURSE AND FINE THREAD

FIGURE #25 – COMPARISON OF COURSE AND FINE THREAD

Metric Fastener grades are defined in ISO 898. The first number in the grade is the material’s tensile strength in hundreds of MPa. The number after the dot is the ratio of the yield strength to the tensile strength. As an example, grade 8.8 has a minimum tensile strength of 800MPa and the yield strength is 80% of the tensile strength. Higher strength grades 9.8, 10.9, and 12.9 are also available. Grades 10.9 and below typically come with an electroplated zinc + chromate finish. Metric socket head cap screws are usually grade 12.9, but sometimes metric socket head cap screws are produced to a lower grade specification. Electroplating typically is not done on fasteners above grade 10.9 due to the previously mentioned hydrogen embrittlement concern. Metric threads are defined by ISO 68-1. Unless a fine thread is specified, the default is the standard course thread. The pitch of the standard metric thread is in between UNC and UNF threads. Typical markings showing a metric fastener’s grade are shown in Figure #26.

Socket head cap screw manufactures offer products similar to the standard socket head cap screws, but with special head styles in both inch and metric sizes. Flat head cap screws, button head cap screws, and low head cap screws are available. However, these head styles when produced in accordance to their industry standards, do not always provide a head strength that exceeds the strength of their threaded shank. They utilize a smaller drive recess than the standard SHCS that has limited torque capacity and strips easily. Additionally, the minimum material strength on button and flat head screws, per ASME 18.3, is 145ksi compared to 180ksi for the standard socket head cap screws. The use of these special head styles is not allowed by the FSAE rules, and the 2017 and later FSAE rules were updated to clearly state which systems this applies to. If you are planning to use these fasteners in a permitted location, it is suggested that you select ones with a hexalobular drive instead of the typical hex drive.

Automotive fasteners follow typical ISO standards but often have additional features such as flanged heads, special point styles, thread forming features, and come in specialized finishes. In some instances these added features can affect their strength and torque tension relationship.

A note on metric bolt standards:  ISO (International Standards Organization) is the universally accepted standard for commercial metric fasteners.  However, national based standard systems existed prior to ISO and are often still referred to.  ISO, DIN, and ASME B18 are commonly cited and the fasteners are compatible between all 3 standards.  Future updates may only be addressed in the ISO standards.

FIGURE 26 – ISO BOLT AND NUT GRADE MARKINGS©ISO.  THESE FIGURES ARE REPRODUCED FROM ISO 898-1:2013 AND 898-2:2012 WITH PERMISSION FROM ANSI ON BEHALF OF ISO.  ALL RIGHTS RESERVED.

FIGURE #26 – ISO BOLT AND NUT GRADE MARKINGS
©ISO.  THESE FIGURES ARE REPRODUCED FROM ISO 898-1:2013 AND 898-2:2012 WITH PERMISSION FROM ANSI ON BEHALF OF ISO.  ALL RIGHTS RESERVED.

Mil Spec Grade Hardware – AN (Aircraft-Navy), NAS (National Aerospace Standard), MS (Military Specification) Specifications are developed by the US Department of Defense. The individual specifications fully define individual pieces of hardware and their corresponding part number. AN hardware is commonly used for light aircraft, is easily found in North America, and provides a good balance between cost and performance. NAS hardware is more specialized and higher performance. MS Hardware covers a large variety styles and a wider performance range. If we look at just alloy steel structural bolts, most AN bolts are 125ksi UTS , and most NAS and MS bolts are 160ksi UTS. There are a few details of Mil Spec fasteners that are different from the commercial fasteners previously noted. 1) The finish is typically electroplated cadmium with a chromate conversion coating (commercial fasteners are usually zinc, which has greater variability in its coefficient of friction). 2) Bolts and nuts have a modified thread form call UNJ with a root radius that is larger than the corresponding UN or ISO thread form feature. 3) Mil Spec bolts are available in a large variety of grip lengths (the unthreaded portion of the bolt shank). The grip length is controlled more accurately and in finer increments than on non Mil Spec fasteners. This makes it easy to size the unthreaded portion of the bolt shank to the thickness of the joint, and keep the threaded portion of the bolt outside of the shear and bearing load interface areas. AN bolts are available in length / grip length increments of 1/8”. NAS and MS bolts are available in length / grip lengths increments of 1/16th of an inch. Mil spec bolts can be specified and are available with either drilled head or drilled shank for safety wire and cotter pin usage.

Mil Spec bolt have unique markings for identification. AN bolts are identified by symbolic head markings while NAS and MS bolts have their specific part number written out on their head. Figure #27 shows typical markings.

Figure #27 – AN, NAS, and MS Bolt Identification Marks

Figure #27 – AN, NAS, and MS Bolt Identification Marks

FAA Advisory Circular AC43.13-1B Acceptable Methods, Techniques, and Practices - Aircraft Inspection and Repair, Chapter 7 - Aircraft Hardware gives a description, application notes, and a pictorial index of the most commonly used mil spec fastening hardware. This FAA publication covers a multitude of topics and is an excellent reference. Although it is written for aircraft maintenance and repair, many areas are also applicable to motorsports.

Figure #28 compares the major differences between the most common bolt types that meet FSAE Rule T.8.2.1.

FIGURE #28  - COMPARISION CHART OF TYPICAL FSAE BOLTS TYPES

FIGURE #28 - COMPARISION CHART OF TYPICAL FSAE BOLTS TYPES

Self-Locking Nuts and other Locking Methods

FSAE 2025 rule T.8.2.3 requires critical fasteners to have a visible feature that is a positive locking feature as defined by section T.8.3. A copy of the rule is listed below:

T.8.2.3 All Critical Fasteners must be secured from unintentional loosening with Positive Locking Mechanisms see T.8.3

T.8.2.4 A minimum of two full threads must project from any lock nut.

T.8.2.5 Some Critical Fastener applications have additional requirements that are provided in the applicable section.

T.8.3 Positive Locking Mechanisms

T.8.3.1 Positive Locking Mechanisms are defined as those which:

a. Technical Inspectors / team members can see that the device/system is in place (visible).

b. Do not rely on the clamping force to apply the locking or anti vibration feature.

Meaning If the fastener begins to loosen, the locking device still prevents the fastener coming completely loose

T.8.3.2 Examples of acceptable Positive Locking Mechanisms include, but are not limited to:

a. Correctly installed safety wiring

b. Cotter pins

c. Nylon lock nuts (where temperature does not exceed 80°C)

d. Prevailing torque lock nuts

Lock washers, bolts with nylon patches and thread locking compounds (Loctite®), DO NOT meet the positive locking requirement

T.8.3.3 If the Positive Locking Mechanism is by prevailing torque lock nuts:

a. Locking fasteners must be in as new condition

b. A supply of replacement fasteners must be presented in Technical Inspection, including any attachment method

T.8.4 Requirements for All Fasteners

Adjustable tie rod ends must be constrained with a jam nut to prevent loosening.

There are two basic types of features that will provide positive locking. One option is a prevailing torque nut. The other is adding a component that will lock, pin, or tie (e.g. locking plate, cotter pin, safety wire) the bolt and its mating threads and physically limit their relative rotation.

A prevailing torque / self locking nut has a feature built into the nut that creates a local interference fit with the threads on the mating bolt. The interference feature creates added friction with the mating bolt threads so that the nut will not rotate on the bolt freely. As noted earlier in the chapter, prevailing torque lock nuts will still loosen in a Junkers test machine. However, once most of the clamp load has been relieved, the nut will not loosen further, and will still stay attached to the bolt and prevent loss of the bolt.

Self-locking nuts can be either an all metal construction or use an added plastic element to create the prevailing torque feature. The most common type of plastic locking element is a plastic ring swaged into the nut just after the threads. This type of nut is sometimes called a nyloc nut, nylon insert nut, or an elastic stop nut. These plastic insert lock nuts typically have a stated temperature limit of 250F, and the friction level is reduced with repeated use. The other types of prevailing torque nuts are an all metal construction with a deformed, ovalized, or tapered portion of its thread to create a localized inference with the bolt. All metal lock nuts have a higher temperature limit than the plastic insert type, but they can cause more wear on the corrosion protective finish of the bolt.

Both all metal and plastic insert self locking nuts have the same result - added friction, which prevents the nut from freely turning on the bolt or separating from it. Several types of lock nuts are shown in Figure #29.

FIGURE #29 – SELF LOCKING NUTS  WITH PLASTIC INSERT,  ALL METAL BEAM, AND OVALIZED COLLAR LOCKING FEATURES

FIGURE #29 – SELF LOCKING NUTS  WITH PLASTIC INSERT,  ALL METAL BEAM, AND OVALIZED COLLAR LOCKING FEATURES

A positive locking feature is an additional component that when added to the fastener, it physically limits the fastener from moving in the loosening direction. Typical positive locking features are safety wire, a cotter pin, or a lock plate that physically prevents rotation between the bolt and it’s mating thread. If you use safety wire or a cotter pin please review and use FAA AC43.13-1B CHAPTER 7 SECTION 7 as a guide on how to properly install. Also note that the rules require the self-locking feature to be visible. For bolts going into tapped holes this means that safety wire may be your best option for a visible locking feature even though it requires drilled fasteners and is labor intensive. Of course, where possible, a through bolt and a nut are preferred and easier to make than a tapped hole.

Cotter / split pins and lock plates that mate with a side of the fastener hex are rule abiding positive locking features. However keep in mind the important benefits of clamp load noted previously in this chapter. Standard castellated nuts and traditional locking tab plates are set up to engage a hex every 60 degrees. 60 degree increments are much too course to control the torque and clamp load on a fastener. If you are going to use these features and expect to control clamp load, then you need to get creative and provide a locking feature that mates to the torqued fastener position and not have the fastener angular position set by the locking feature. Figures #30, 31, and 32, show examples of positive locking features. Figure #32 shows a locking plate with tabs that wrap around the bolt head more than a single flat of the hex. This allows the locking tab to be bent up at whatever position the tightened bolt head ends up.

FIGURE #30 – CASTELLATED NUT WITH COTTER PIN. SOURCE NASA FASTENER HANDBOOK

FIGURE #30 – CASTELLATED NUT WITH COTTER PIN. SOURCE - NASA FASTENER HANDBOOK

FIGURE #31 – SAFETY WIRED BOLT PAIR. SOURCE - MS33540

FIGURE #31 – SAFETY WIRED BOLT PAIR. SOURCE - MS33540

FIGURE #32 - LOCKING PLATE SKETCH AND AS INSTALLED PICTURE

FIGURE #32 - LOCKING PLATE SKETCH AND AS INSTALLED PICTURE

Thread Forms

There are several different families of fasteners you have to choose from, but all utilize a similar 60 degree thread form. The thread geometry for metric and also fractional inch based hardware share a common shape and proportions, however the diameters and thread pitch values are different.

Commercial fractional inch hardware uses the unified national thread standard (UN) which is controlled by ASME / ANSI. There are a couple different designations for UN threads which are noted in the next section. The metric thread form is defined in ISO 68-1.

UN defines a tolerance zone for the thread form, and it provides enough of a range that the root of the bolt thread could have sharp corners, which is typical of a cut thread, or the thread could have a small root radius, which is typical of rolled thread. A generous radius and a rolled thread is preferred for fatigue strength. If the thread is designated as UN, then it might or might not have a root radius. Most bolts have their thread created by a rolling process. This creates a beneficial radius at the root of the threads. Bolts that have a UNR thread form should have a radius between 11 % and 14% of the thread pitch. The UNR thread designation is only applied to external threads.

Mil Spec structural bolts have a thread form designation called UNJ for fractional inch fasteners, and there is a less common metric version, MJ, for a metric sized version of the thread form. The UNJ thread form and the root radius is defined by specification MIL-S-8879C. UNJ has a larger root radius than UN / UNR threads to reduce stress concentrations and improve the fatigue performance of the bolt. The UNJ thread specifies a radius between 15% and 18% of the thread pitch. The larger radius is a plus for performance, however it makes a UNJ threaded bolt incompatible with a regular UN nuts. Figure #33 shows the differences between the various UN thread types.

Figure 34 Typical Cross Section Of Various Bolt Thread Forms

FIGURE #33 - TYPICAL CROSS SECTION OF VARIOUS BOLT THREAD FORMS. 

A UNJ threaded bolt cannot use a regular UN nut because of interference with the larger root radius of the bolt. The mating thread for a UNJ bolt will have a larger internal thread minor diameter on the nut or tapped threads to clear the bolt thread root radius and prevent binding. Be sure to use compatible MS / AN / NAS or equivalent nuts or threads with a minor diameter in accordance with MIL-S-8879 to prevent binding.

This also applies if you use a UNJ bolt in a tapped hole. If you are going to make a threaded hole for a UNJ bolt, the typical tap drill size is not compatible and a slightly larger tap drill corresponding to the UNJ internal minor thread diameter must be used. Figure #34 lists tap drill sizes for use with a UNJ bolt.

Where to find MIL Specs and MIL Handbooks

Mil Specs and other NASA, military, and federal standards are free public domain material. Mil specs can be down loaded from the following Department of Defense (DOD) web site. The DOD is reducing the number of specifications that they maintain and have started to turnover some of the hardware specifications to industry organizations to manage. The difficulty with this is that the non-government organizations charge to get a copy of the specification. In most cases where the Mil Spec has been superseded by an industry specification, you will find that the hardware is still listed and sold under its older Mil Spec name.

The official web site to access these specifications is:

http://quicksearch.dla.mil/

There are some commercial web sites that also provide Mil Specs and other federal standards. Everyspec.com seems to be a good one. Figures #35 to 39 show the sample screens when executing a search for these standards.

FIGURE #35 - QUICK SEARCH WEB PAGE

Figure #36 - Quick Search Results

Figure #37 - Quick Search Result Selection

Figure #38 - Quick Search PDF File Or Specification

In addition to specs, the DOD has also created handbooks known as MIL-HDBKs on a multitude of topics.

There are many handbooks on materials, measurement methods, and manufacturing processes that can be of use for motorsports.

A list of all MIL-HDBKs can be generated with the following search:

FIGURE #39 - QUICK SEARCH RESULT FOR MIL-HDBK

References:

  1. Military Handbook 60 – Threaded Fasteners – Tightening to Proper Tension

  2. Junker, G. H. New criteria for Self-Loosening of Fasteners Under Vibration. SAE Paper 690055

  3. NASA Reference Publication 1228 1990 - Fastener Design Manual

  4. Bollhoff - The Manual of Fastening Technology, 8th edition
    https://media.boellhoff.com/files/pdf1/the-manual-of-fastening-en-8100.pdf

  5. MS33540 Safety Wiring and Cotter Pinning, General Practices For

  6. Unbrako Engineering Guide
    https://www.unbrako.com/images/downloads/engguide.pdf

  7. Bickford, John H. “Introduction to the Design and Behavior of Bolted Joints” 1995, Marcel Dekker, Inc.

  8. Blendulf, Bengt. Fastening Technology & Bolted/Screwed Joint Design.2000.

  9. Bolt Science. Vibration Loosening of Bolts and Threaded Fasteners, Tutorial on Basics of Bolted Joints. 2008.

  10. Comer, Jess. Threaded Fasteners and the Bolted Joint.2004.

  11. R. S. Shoberg “Engineering Fundamentals of Threaded Fastener Design and Analysis, PCB Load & Torque”

  12. Threaded Fasteners Seminar: Preload Loss and Vibration Loosening, Jeff Jungmann, Spiralock Corporation

  13. S. Fernando “ Engineering Insight to the Fundamental Behavior of Tensile Bolted joints”

  14. FAA Advisory AC 43.13-1B Techniques and Practices – Aircraft Inspection and Repair
    http://www.faa.gov/regulations_policies/advisory_circulars/index.cfm/go/document.information/documentid/99861

  15. NASA MSFC Standard 486B “Torque Limits for Threaded Fasteners”

  16. MIL-S-8879C General Specification for Screw Threads, Controlled Radius Root (UNJ Thread)

  17. NASA –STD-5020 Requirements for threaded fastening systems in spaceflight hardware

  18. VDI 2230 “Systematic calculation of high duty bolted joints”

  19. Richard Barrett, NASA Fastener Design Course 1997 written booklet and corresponding video, parts 1-9

  20. B. A. Fisher and W. J. Winkworth “Effect of Tight Clamping on the Fatigue Strength of Joints”

Previous
Previous

Guide To 2026 FSAE Frame Rule Changes

Next
Next

A Recipe for Success in the Cost and Manufacturing Event at FSAE Michigan